▼操作画面
各種設定 > 口座管理
各種設定 > 口座管理 > 口座使用状況
各種設定 > 口座管理 > 編集
▼操作方法
①入金データを取り込む口座情報の登録を会場毎に行います。
②口座管理の新規登録ができます。【A】
③ドラッグ&ドロップで並び順の変更ができます。
並び順更新を押すことで現在の並び順を確定します。【B】
④入金口座に利用可能かどうかを設定できます。【C】
⑤管理口座の編集画面に遷移します。【D】
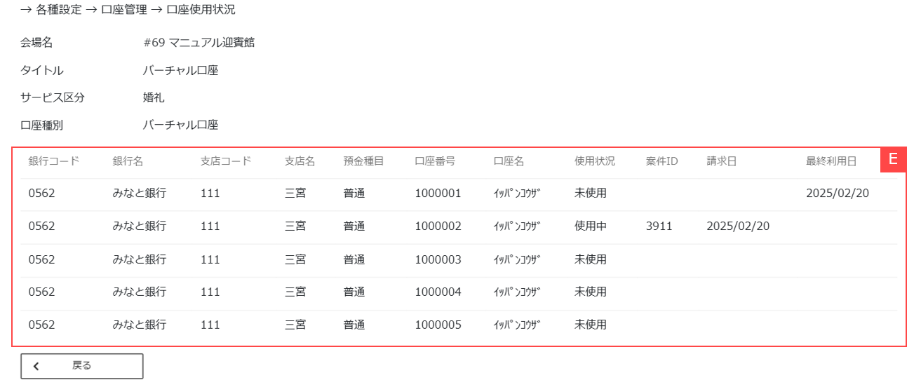
⑥バーチャル口座の使用状況を確認できます。【E】
バーチャル口座は並び順の上から順番に未使用のものから使用されます。
一番下まで使用されると一番上の未使用ものから再度使用されます。
⑦CSVファイルのエクスポート・インポートによる編集が可能です。【F】
エクスポートしたファイルを編集しインポートすることで、口座情報がSIRCLEに取り込まれます。
⑧会場の口座情報を新規に追加します。(口座設定が開きます)【G】
⑨設定済みの口座情報を編集します。【H】
⑩会場の口座情報を編集したら「更新」を押して設定を完了します。【I】